Характеристики
Бренд
Avtos
Страна производства
Россия
Материал
Сталь
ОЗОН ТИП
Фаркоп
ОЗОН Комплектация
Фаркоп (без электрики), крепеж, инструкция и сертификат соответвия.
Категория Авито
Запчасти и аксессуары
Артикул производителя
AVTS.TY 52
ТН ВЭД
8708999709
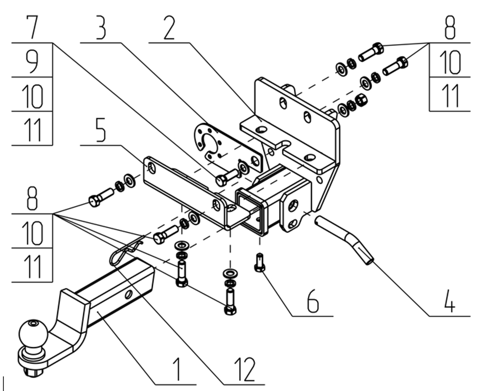
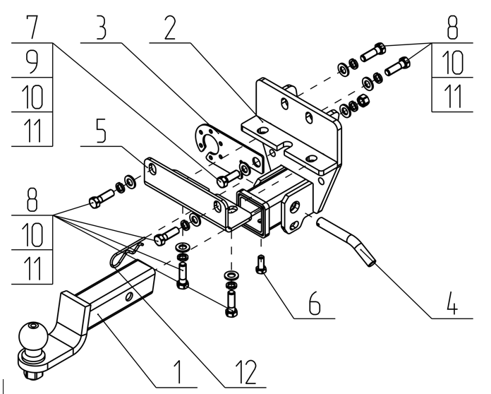
Описание
Тип шара: Легкосъёмный "американский" квадрат 50х50.; Вертикальная нагрузка на шар, кг: 140.; Максимальная масса прицепа, кг: 3500.; Резать бампер: Не надо.; Паспорт и сертификат в комплекте. ВНИМАНИЕ! Без электрики.
Показать полностью
Отзывы
Отзывов еще никто не оставлял
