Характеристики
          Бренд
                    
                    
                      
                        AvtoS,
                      
                        Avtos
                      
                    
                  Страна производства
                    
                    
                      
                        Россия
                      
                    
                  Вертикальная нагрузка на шар, кг
                    
                    
                      
                        50
                      
                    
                  Допустимая полная масса прицепа, т
                    
                    
                      
                        0.7
                      
                    
                  Допустимая полная масса прицепа, кг
                    
                    
                      
                        700
                      
                    
                  вес,гр
                    
                    
                      
                        16000
                      
                    
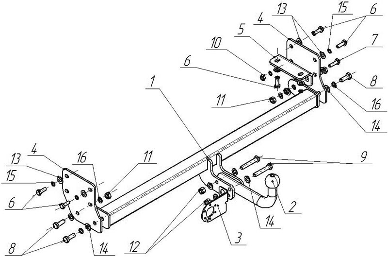
                  Демонтаж бампера
                    
                    
                      
                        Да
                      
                    
                  Вырез бампера
                    
                    
                      
                        Да
                      
                    
                  Материал
                    
                    
                      
                        Сталь
                      
                    
                  ОЗОН ТИП
                    
                    
                      
                        фаркоп
                      
                    
                  ОЗОН Комплектация
                    
                    
                      
                        Фаркоп, крепеж, инструкция и сертификат соответвия.
                      
                    
                  Категория Авито
                    
                    
                      
                        Запчасти и аксессуары
                      
                    
                  Тип товара Авито
                    
                    
                      
                        Багажники и фаркопы
                      
                    
                  Описание
        
          Подрезка бампера:Да.Снятие бампера:Да.Снятие шара:Да.Максимальная вертикальная нагрузка на шар (кг.):50.Масса груза (кг.):700.
        
        Показать полностью
      Отзывы
        
        
          
          
            Отзывов еще никто не оставлял
        
        
       
                         
                         
                         
                         
                         
                         
                         
                         
                         
                         
                         
                         
                         
                         
                         
                         
                         
                         
                         
                         
                         
                         
                         
                         
                         
                         
                         
                         
                         
                         
                         
                         
                         
                         
                         
                         
                         
                         
                         
                         
                         
                         
                         
                         
                         
                         
                         
                         
                         
                         
                         
                         
                         
                         
                         
                         
                         
                         
                         
                         
                         
                         
                         
                         
                         
                         
                         
                         
                         
                         
                         
                         
                         
                         
                         
                         
                         
                         
                         
                         
                         
                         
                         
                         
                         
                         
                         
                         
                         
                         
                         
                         
                         
                         
                         
                         
                         
                         
                         
                         
                         
                         
                         
                       
                       
                       
                      