Характеристики
Бренд
AvtoS,
Avtos
Страна производства
Россия
Вертикальная нагрузка на шар, кг
75
Допустимая полная масса прицепа, т
1.35
Допустимая полная масса прицепа, кг
1350
вес,гр
16000
Демонтаж бампера
Да
Вырез бампера
Да
Материал
Сталь
ОЗОН ТИП
фаркоп
ОЗОН Комплектация
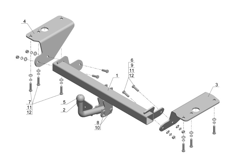
Фаркоп, крепеж, инструкция и сертификат соответвия.
Категория Авито
Запчасти и аксессуары
Тип товара Авито
Багажники и фаркопы
Описание
Подрезка бампера:Да.Снятие бампера:Да.Снятие шара:Да.Максимальная вертикальная нагрузка на шар (кг.):75.Масса груза (кг.):1350.
Показать полностью
Отзывы
Отзывов еще никто не оставлял
