Характеристики
Бренд
Avtos
Страна производства
Россия
Материал
Сталь
ОЗОН ТИП
Фаркоп
ОЗОН Комплектация
Фаркоп, крепеж, инструкция и сертификат соответвия.
Категория Авито
Запчасти и аксессуары
Тип товара Авито
Багажники и фаркопы
Описание
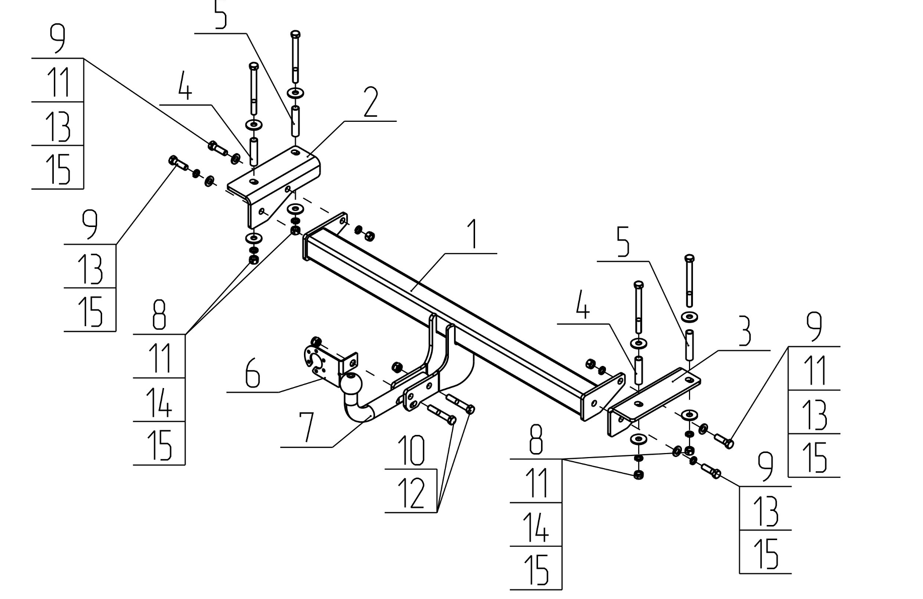
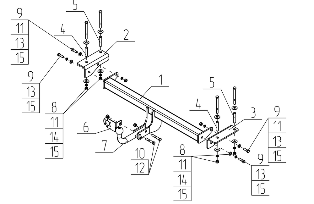
Фаркоп на CHANGAN CS55 2017- , cо сверлением. Тип шара: A. Нагрузки: 1800/75 кг, (универсальная электрика с блоком Smart в комплекте) - CG 02 AvtoS
Отзывы
Отзывов еще никто не оставлял
