Характеристики
Бренд
Leader Plus
Страна производства
Россия
Вертикальная нагрузка на шар, кг
75
Допустимая полная масса прицепа, кг
1200
Утилизация усилителя бампера
нет
Сверление кузова \ лонжеронов
4 отв
Демонтаж бампера
нет
Вырез бампера
нет
ОЗОН ТИП
Фаркоп
ОЗОН Комплектация
Фаркоп, крепеж, универсальная электрика (Smart), инструкция и сертификат соответвия.
Категория Авито
Запчасти и аксессуары
Тип товара Авито
Багажники и фаркопы
Описание
Фаркоп «Leader»
CHEVROLET LACETTI (седан) 2004-2013г.в.
DAEWOO GENTRA 2013-...
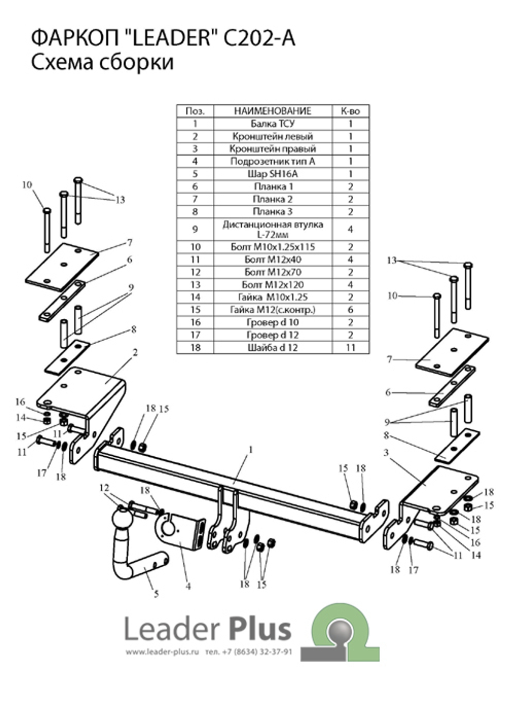
Артикул C202-A (съемный шар тип А)
Конструкция фаркопа «Leader» представляет собой разборный вариант, что позволяет экономить место при складировании , транспортировке и облегчает процесс монтажа.
Снятия и подрезки бампера не требуется . Фаркоп «Leader» упакован в термоусадочную пленку. Для окраски фаркопа «Leader» используется полимернопорошковая краска с повышен-ной износоустойчивостью.
Грузоподъемность фаркопа «Leader» рассчитывается теоретически и подтверждается динамическими испытаниями , проводимыми по
ГОСТ Р 41.55-2005 (приложение 7) в аккредитованной сертифицированной испытательной лаборатории. Максимальная масса буксируемого прицепа 1200 кг. при статической вертикальной нагрузке на шар 75 кг.(сертификат соответствия).
В связи с тем,что завод-изготовитель автомобиля не предусмотрел штатные места для установки фаркопа на автомобиль,необходимо допол-нительно просверлить по два отверстия в лонжеронах автомобиля, и закрепить его болтовыми соединениями, используя дистанционные втулки .
Конструкция фаркопа «Leader» позволяет при необходимости легко демонтировать шар. Фаркоп становится незаметным и позволяет сохранить красоту линий автомобиля.
Показать полностью
CHEVROLET LACETTI (седан) 2004-2013г.в.
DAEWOO GENTRA 2013-...
Артикул C202-A (съемный шар тип А)
Конструкция фаркопа «Leader» представляет собой разборный вариант, что позволяет экономить место при складировании , транспортировке и облегчает процесс монтажа.
Снятия и подрезки бампера не требуется . Фаркоп «Leader» упакован в термоусадочную пленку. Для окраски фаркопа «Leader» используется полимернопорошковая краска с повышен-ной износоустойчивостью.
Грузоподъемность фаркопа «Leader» рассчитывается теоретически и подтверждается динамическими испытаниями , проводимыми по
ГОСТ Р 41.55-2005 (приложение 7) в аккредитованной сертифицированной испытательной лаборатории. Максимальная масса буксируемого прицепа 1200 кг. при статической вертикальной нагрузке на шар 75 кг.(сертификат соответствия).
В связи с тем,что завод-изготовитель автомобиля не предусмотрел штатные места для установки фаркопа на автомобиль,необходимо допол-нительно просверлить по два отверстия в лонжеронах автомобиля, и закрепить его болтовыми соединениями, используя дистанционные втулки .
Конструкция фаркопа «Leader» позволяет при необходимости легко демонтировать шар. Фаркоп становится незаметным и позволяет сохранить красоту линий автомобиля.
Видео установки
Отзывы
Отзывов еще никто не оставлял
