Характеристики
Бренд
MOTODOR
Страна производства
Россия
Вертикальная нагрузка на шар, кг
75
Допустимая полная масса прицепа, т
1.2
Допустимая полная масса прицепа, кг
1200
Вырез бампера
Требуется вырез в бампере в седанах и Rio хэтчбек
ОЗОН ТИП
фаркоп
ОЗОН Комплектация
Фаркоп, крепеж, инструкция и сертификат соответвия.
Категория Авито
Запчасти и аксессуары
Тип товара Авито
Багажники и фаркопы
Количество, штук
1
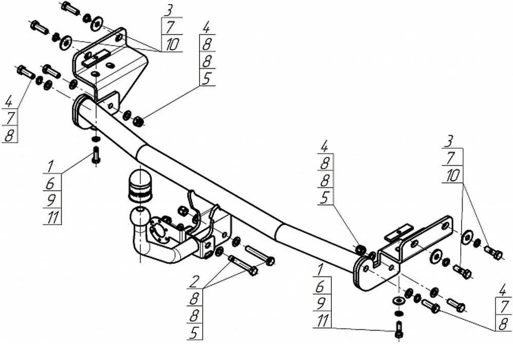
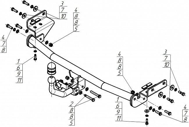
Описание
Тип шара:A (оцинкованный); Максимальная вертикальная нагрузка на шар (кг.):75; Масса груза (кг.):1200; Подрезать бампер:Требуется вырез в бампере в седанах и Rio хэтчбек
Показать полностью
Отзывы
Отзывов еще никто не оставлял
