Характеристики
Бренд
Motodor
Страна производства
Россия
Вертикальная нагрузка на шар, кг
75
Допустимая полная масса прицепа, т
1.5
Допустимая полная масса прицепа, кг
1500
Вырез бампера
Вырез в бампере не требуется
Материал
8 мм, Сталь
ОЗОН ТИП
Фаркоп
ОЗОН Комплектация
Фаркоп, крепеж, инструкция и сертификат соответвия.
Категория Авито
Багажники и фаркопы,
Запчасти и аксессуары
Тип товара Авито
Багажники и фаркопы
Количество, штук
1
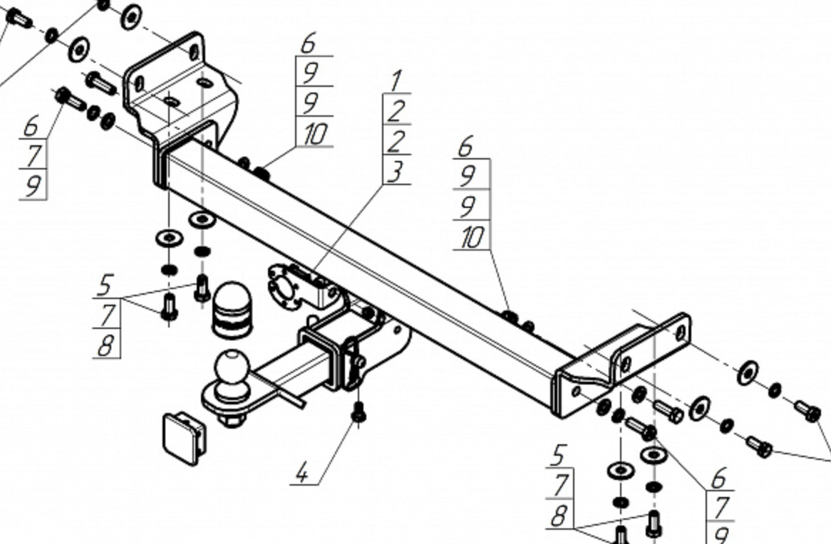
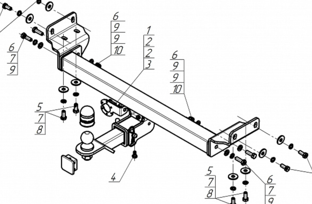
Описание
- Верт/Гориз нагрузка на шар : 75/1500
- Доп. электрика : Требуется, включая Смарт-коннект
- Тип двигателя : Бензиновый
- Привод : На передние колёса, на все колёса
- Объем двигателя : 1,6
- Особенности : Вырез в бампере не требуется
Отзывы
Отзывов еще никто не оставлял
