Характеристики
Бренд
MOTODOR
Страна производства
Россия
Вертикальная нагрузка на шар, кг
75
Допустимая полная масса прицепа, т
1.35
Допустимая полная масса прицепа, кг
1350
Вырез бампера
Требуется вырез в бампере
Материал
8 мм, Сталь
ОЗОН ТИП
фаркоп
ОЗОН Комплектация
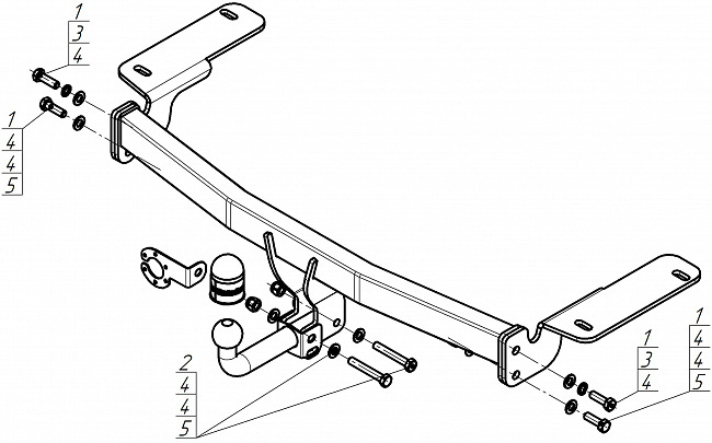
Фаркоп, крепеж, инструкция и сертификат соответвия.
Категория Авито
Запчасти и аксессуары
Тип товара Авито
Багажники и фаркопы
Количество, штук
1
Описание
Тип шара:A (оцинкованный); Максимальная вертикальная нагрузка на шар (кг.):75; Масса груза (кг.):1350; Подрезать бампер:Требуется вырез в бампере;
Показать полностью
Отзывы
Отзывов еще никто не оставлял
