Характеристики
Бренд
Galia
Страна производства
Словакия
Вертикальная нагрузка на шар, кг
75
Допустимая полная масса прицепа, т
2035-01-01
Допустимая полная масса прицепа, кг
1350
Материал
Оцинкованный
Тип
Условно съемный
ОЗОН ТИП
Фаркоп
ОЗОН Комплектация
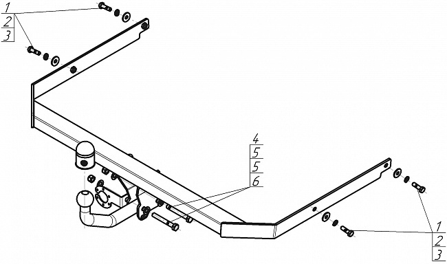
Фаркоп, крепеж, инструкция и сертификат соответвия.
Категория Авито
Запчасти и аксессуары
Тип товара Авито
Багажники и фаркопы
Описание
Марка автомобиля: Opel, FIAT, Alfa Romeo
Модель автомобиля: Corsa D, Grande Punto, Grande Punto Evo, MiTo
Год выпуска автомобиля: 2006 - 2018 г.в.
Тип кузова автомобиля: хетчбэк
Тип шара: условно съемный шар (на двух болтах).
Максимальная буксируемая масса: 1350 кг
Вертикальная нагрузка на шар: 75 кг
Особенности монтажа
Снимать бампер: да
Резать бампер: да
Блок согласования: рекомендуется
Отзывы
Отзывов еще никто не оставлял
