Характеристики
Бренд
Бизон
Страна производства
Россия
ОЗОН ТИП
Фаркоп
Категория Авито
Запчасти и аксессуары
Тип товара Авито
Багажники и фаркопы
Описание
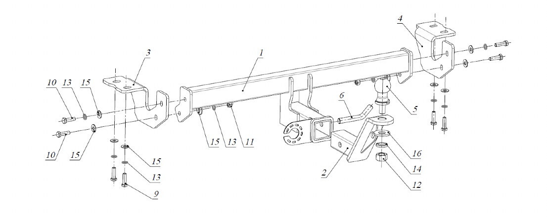
Нагрузки - на шар / на раму верт / тяговая: 100 кг / 300 кг / 2700 кг; Подрезка бампера: нет; Паспорт и сертификат на продукцию в комплекте. Электрика к комплект: НЕ ВХОДИТ.
Показать полностью
Отзывы
Отзывов еще никто не оставлял
