Характеристики
Бренд
Steinhof
Страна производства
Польша
Вертикальная нагрузка на шар, кг
75
Допустимая полная масса прицепа, т
1.8
Допустимая полная масса прицепа, кг
1800
Вырез бампера
Да
Материал
Сталь
Тип
Условно съемный
ОЗОН ТИП
фаркоп
ОЗОН Комплектация
Фаркоп, крепеж, инструкция и сертификат соответвия.
Категория Авито
Запчасти и аксессуары
Тип товара Авито
Багажники и фаркопы
Описание
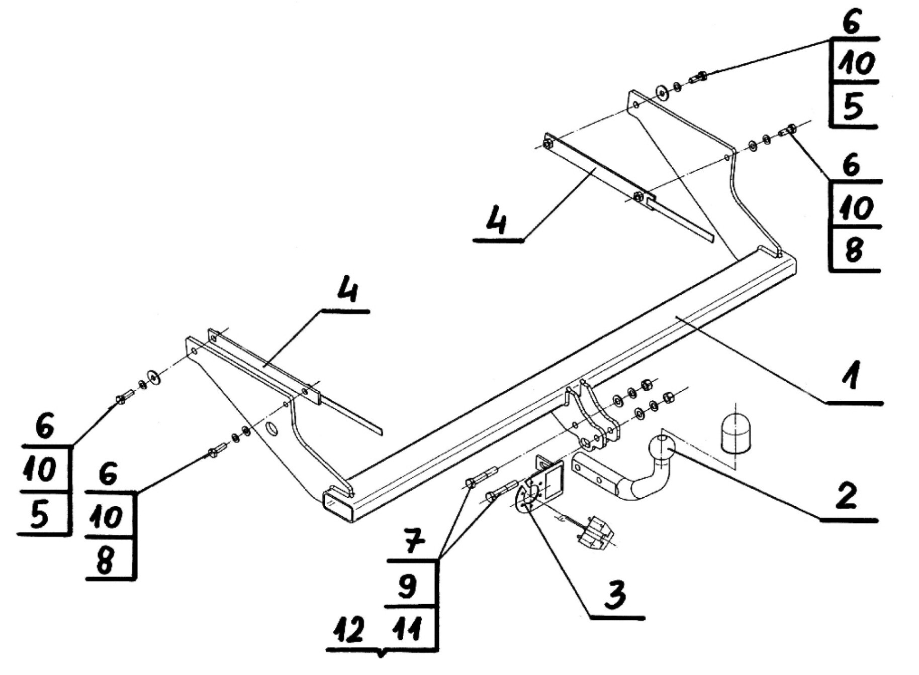
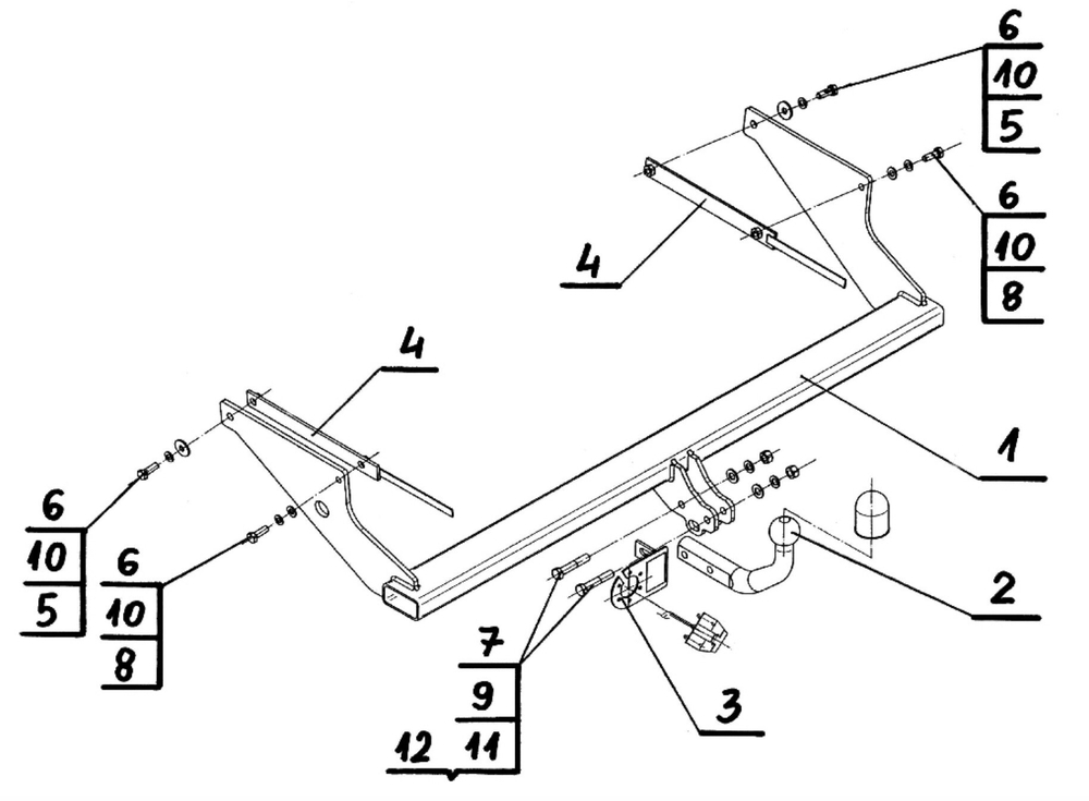
Марка автомобиля: Saab
Модель автомобиля: 9-5
Год выпуска автомобиля: с 1997-2011 г.в.
Тип кузова автомобиля: седан/универсал
Тип шара: условно-съемное крепление
Максимальная буксируемая масса: 1800 кг
Вертикальная нагрузка на шар: 75 кг
Особенности монтажа
Снимать бампер: да
Резать бампер: да
Утилизация усилителя бампера: да
Блок согласования: да
Отзывы
Отзывов еще никто не оставлял
