Характеристики
Бренд
MOTODOR
Страна производства
Россия
ОЗОН ТИП
Фаркоп
ОЗОН Комплектация
Фаркоп, крепеж, инструкция и сертификат соответвия.
Категория Авито
Багажники и фаркопы,
Запчасти и аксессуары
Количество, штук
1
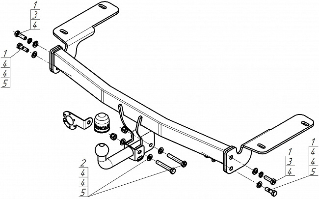
Описание
Фаркоп ZincaR ОЦИНКОВАННЫЙ Maserati Levante 2016 - н.в (Оцинк. шар)(паспорт и сертификат в комплекте)(без электрики) ZM401A; Тип шара:A (оцинкованный); Максимальная вертикальная/горизонтальная, нагрузка на шар (кг.):75\1350; Подрезать бампер:Требуется вырез в бампере, ТСУ полностью оцинковано
Показать полностью
Отзывы
Отзывов еще никто не оставлял
