Характеристики
Бренд
Motodor
Страна производства
Россия
ОЗОН ТИП
Фаркоп
Количество, штук
1
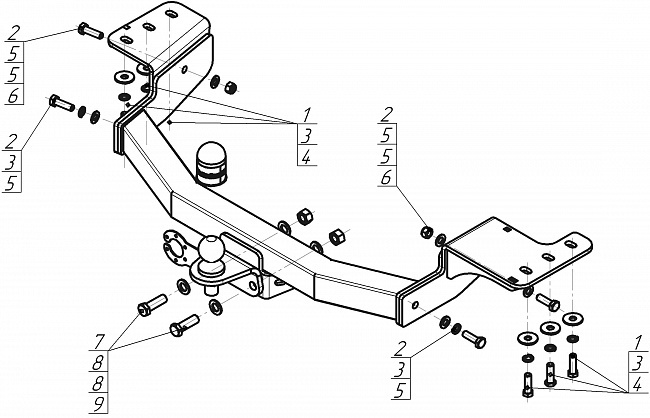
Описание
- Материал : 8 мм, Сталь Оцинкованная
- Верт/Гориз нагрузка на шар : 100/2000
- Производитель : MOTODOR
- Тип шара/Код : FE
- Доп. электрика : Требуется, включая Смарт-коннект
- Кузов : Универсал
- Тип двигателя : Бензиновый, дизельный
- Привод : Полный
- Объем двигателя : 2.7, 2.8
- Особенности : Вырез в бампере не требуется, ТСУ полностью оцинковано, кроме комплектации TRD
Отзывы
Отзывов еще никто не оставлял
