Характеристики
Бренд
Motodor
Страна производства
Россия
Материал
2 мм, Сталь
ОЗОН ТИП
Защита картера двигателя
Защита для:
Задний дифференциал
Тип двигателя:
Дизельный
Привод:
Полный
Объем двигателя:
3
Количество, штук
1
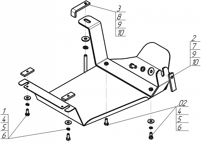
Описание
- Материал : 2 мм, Сталь
- Защита для : Задний дифференциал
- Производитель : MOTODOR
- Кузов : Универсал
- Тип КПП : АКПП
- Тип двигателя : Дизельный
- Привод : Полный
- Объем двигателя : 3,0
- Вес полного комплекта : 4,4
- Габариты : 584x331
Отзывы
Отзывов еще никто не оставлял
