Характеристики
Бренд
Motodor
Страна производства
Россия
ОЗОН ТИП
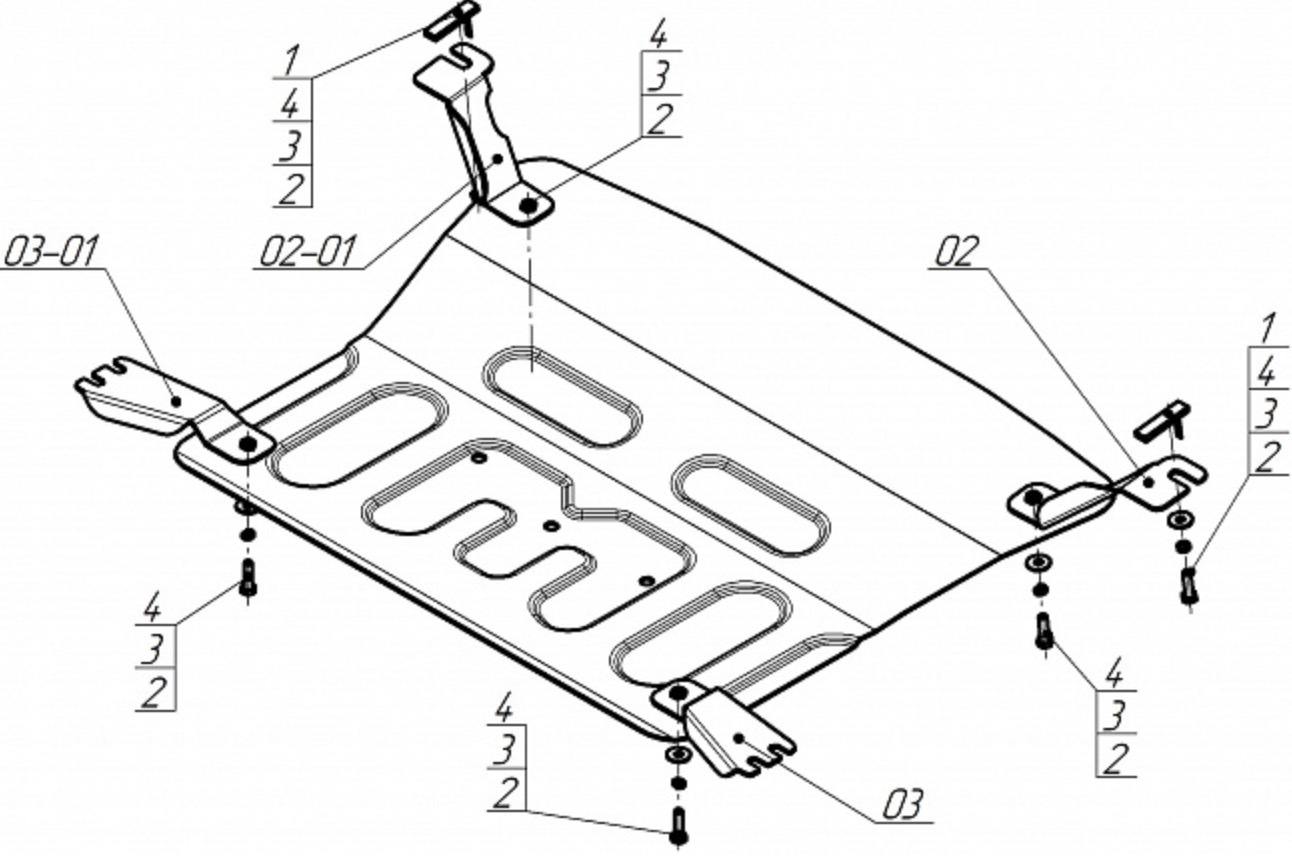
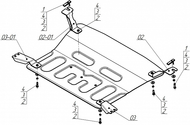
Защита картера двигателя
Количество, штук
1
Описание
-
Подходит для следующих авто:
- Hongqi HS5 2023-н.в.
Материал : 2 мм, Сталь - Производитель : MOTODOR
- Защита для : Двигатель,Коробка переключения передач
- Кузов : Универсал
- Тип двигателя : Бензиновый
- Привод : На передние колёса
- Объем двигателя : 2,0
- Особенности : Защита устанавливается поверх штатного пыльника
- Вес полного комплекта : 9,0
- Габариты : 826x606
Отзывы
Отзывов еще никто не оставлял
