Характеристики
Бренд
Motodor
Страна производства
Россия
ОЗОН ТИП
Защита картера двигателя
Количество, штук
1
Партномер (артикул производителя)
MOT.78501
Описание
Подходит для авто:
BAIC X35 2019-н.в.
Показать полностью
BAIC X35 2019-н.в.
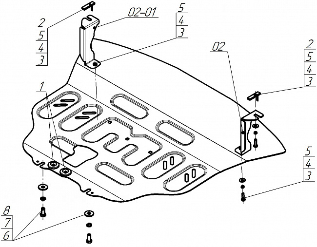
- Материал : 2 мм, Сталь
- Производитель : MOTODOR
- Защита для : Двигатель,Коробка переключения передач
- Кузов : Универсал
- Тип КПП : АКПП
- Тип двигателя : Бензиновый
- Привод : На передние колёса
- Объем двигателя : 1,5Т
- Особенности : Защита устанавливается поверх штатного пыльника, только для автомобилей с турбонаддувом
- Вес полного комплекта : 12,2
- Габариты : 1128x824
Отзывы
Отзывов еще никто не оставлял
