Характеристики
Бренд
Motodor
Страна производства
Россия
ОЗОН ТИП
Защита картера двигателя
Количество, штук
1
Партномер (артикул производителя)
71402
Описание
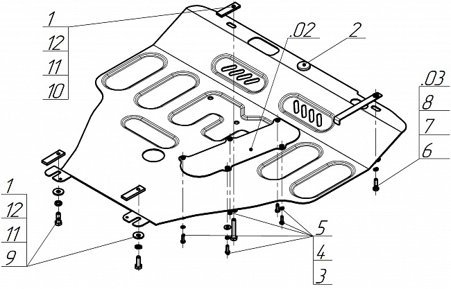
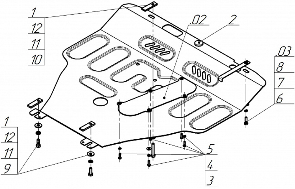
Подходит для авто: Nissan Micra 2003-2010|Nissan Note 2006-2014|Nissan Cube 2002-2008. Материал: 2 мм, Сталь. Производитель: MOTODOR. Защита для: Двигатель,Коробка переключения передач. Кузов: Хэтчбек, вэн. Тип двигателя: Бензиновый. Привод/Объем двигателя: На передние колёса. 1,0, 1,2, 1,4, 1,5, 1,6АКПП, МКПП.
Показать полностью
Отзывы
Отзывов еще никто не оставлял
