Характеристики
Бренд
Motodor
Страна производства
Россия
ОЗОН ТИП
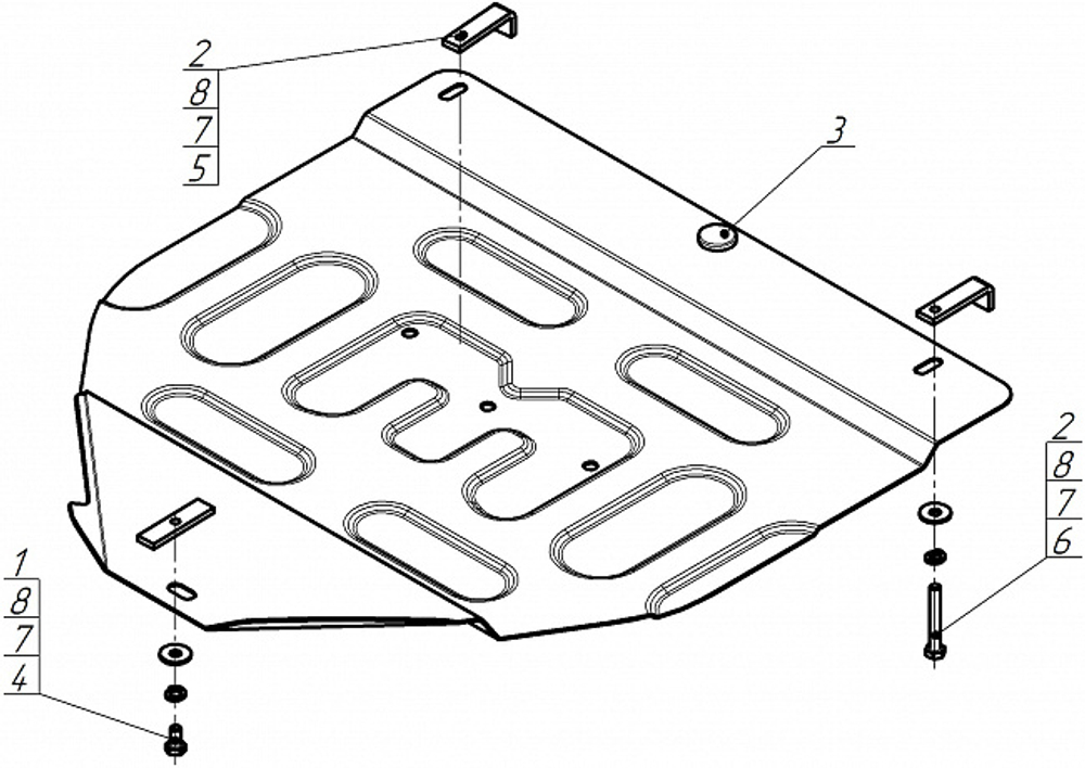
Защита картера двигателя
Количество, штук
1
Партномер (артикул производителя)
71405
Описание
Подходит для авто: Nissan Pathfinder 2005-2010|Nissan Pathfinder 2010-2014. Материал: 2 мм, Сталь. Производитель: MOTODOR. Защита для: Раздаточная коробка. Кузов: Универсал. Тип двигателя: Бензиновый, дизельный. Привод/Объем двигателя: На все колёса. 2,5, 3,0, 4,0.
Показать полностью
Отзывы
Отзывов еще никто не оставлял
