Характеристики
Бренд
Motodor
Страна производства
Россия
ОЗОН ТИП
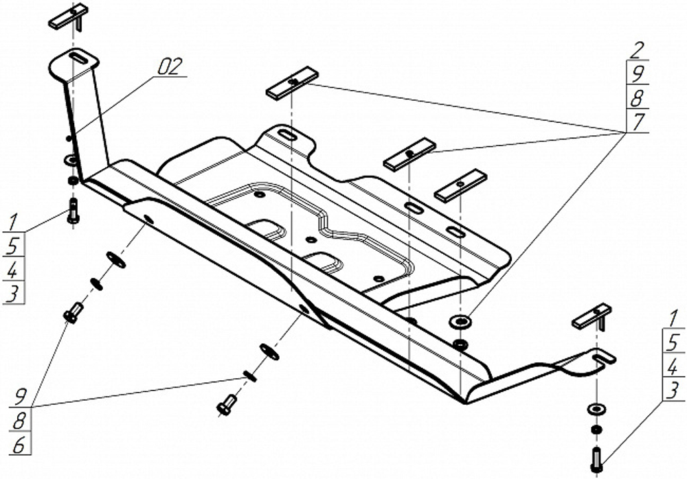
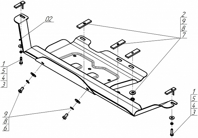
Защита картера двигателя
Количество, штук
1
Партномер (артикул производителя)
78314
Описание
Подходит для авто: Jac T8 2019-н.в.|Jac T8Pro 2019-н.в.|Sollers ST8 2024-н.в.. Материал: 2 мм, Сталь. Производитель: MOTODOR. Защита для: Раздаточная коробка. Кузов: Пикап. Тип двигателя: Бензиновый. Привод/Объем двигателя: На все колёса. 2,4МКПП.
Показать полностью
Отзывы
Отзывов еще никто не оставлял
