Характеристики
Бренд
Motodor
Страна производства
Россия
ОЗОН ТИП
Защита картера двигателя
Количество, штук
1
Партномер (артикул производителя)
349904
Описание
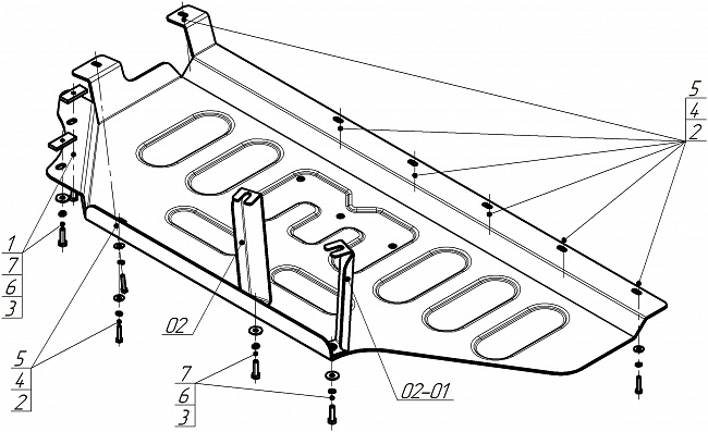
Подходит для авто: Li Auto L6 2024-н.в.. Материал: 4 мм, Алюминий. Производитель: MOTODOR. Защита для: Топливный бак. Кузов: Универсал. Тип двигателя: Гибридный. Привод/Объем двигателя: Полный. 1,5Защита устанавливается вместо штатного пыльника.
Показать полностью
Отзывы
Отзывов еще никто не оставлял
